Patents
![]() While working at Boeing's Phantomworks I participated in a few development efforts which led to patents. |
|
|---|---|
|
The first patent was US9001121. This research involved the use of 2D X-ray data in generating 3D CAD data. This was motivated by the need to know with certainty what hidden structure exists within an old aircraft slated for modification. The basic layout is shown at right. We have a raytracing backscatter X-ray scanner which picks up the hidden details. It's pulled along the length of the aircraft, and the location of the scanner is recorded. |
|
|
Those details are then traced and projected onto a 3D model of the aircraft, allowing for insertion into (and manipulation within) CAD (e.g. CATIA). My involvment in this project mainly concerned implementation of proof-of-concept software (MATLAB) which took 2D X-ray scan images, allowed the user to trace hidden features, and then correctly projected and scaled those details into 3D space and finally CAD. |
|
|
|
|
|
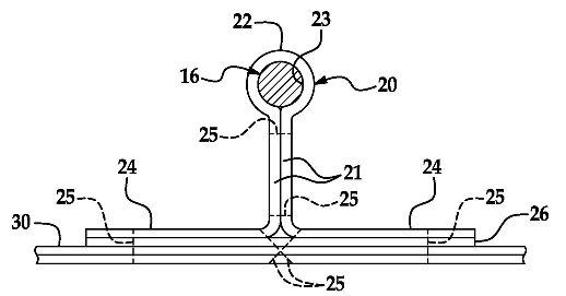
The next project led to pending patent application US20110039057. This effort was intended to address some shortcomings of using a pultruded rod with an over-wrap laminate. My primary contribution was analysis / optimization of various stringer termination details, which tend to be the weakest link in such co-cured designs. |
|
|
|
|
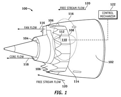
| The final patent I worked on (US8434293) was a morphing turbofan outlet cowl, involving shape memory alloy actuators. |
|
| My primary contribution to this project was to model potential layouts in CATIA V5, in both the theoretical morphed and unmorphed conditions. |
|
| More potential layouts. |
|